氛围感拉满:微软新专利探索 Copilot AI 应用,匹配视频等生成音乐
GoodNav 10 月 5 日报道称,科技媒体 Windows Report 于昨日(10 月 4 日)发文提到,微软公司已获得一项新的专利,计划让 Copilot 在未来帮助用户为视频、文本、PowerPoint 等内容匹配音乐或背景音轨。
此项专利的名称为《Artificial intelligence model for composing audio scores》,其主要讨论了如何基于输入内容来创作音乐。

这项专利主要概括了以下几个步骤:
-
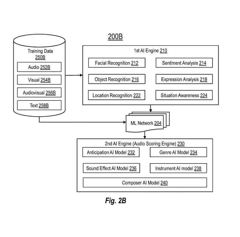
数据收集:获取大量训练数据,这些数据涵盖多个包含视频及音频元素的视听数据集。
-
特征提取:对数据集进行分析并提取各类特征,比如文本视频中的颜色、形状、运动和场景等。
-
关系分析:Copilot将分析这些特征,并寻找它们之间的关联,比如某些特定场景(如日落)通常会伴随特定风格的音乐(如柔和、宁静的旋律)。
Copilot将利用这些特性进行训练,通过关联系统,生成与新视频的视觉及文本特征相适合的音频评分。
在实际应用中,这种技术可广泛应用于多个领域,例如:
-
影视与视频制作:自动为电影、电视剧或网络视频生成背景音乐。
-
广告:创作与商业广告氛围及信息高度契合的音乐。
-
游戏:生产与游戏视觉和动作变化相对应的动态配乐。
-
虚拟现实:通过与视觉环境相符合的音频来增强沉浸体验。
-
其他场景:如在求婚等特殊场景中自动匹配合适的音乐。
© 版权声明
文章版权归作者所有,未经允许请勿转载。
相关文章
暂无评论...